栖凤楼论坛(全国信息),一品楼凤qm论坛,一品楼新论坛,采花楼论坛

News center

新闻中心

双速电机的控制方式有哪些(双速电机的原理及控制方式图解)

2022-11-23??作品声明:内容由AI生成

双速电机是具有两种转速的电机,通常称为/YY起动电路。通过改变电机线圈绕组的极对来改变电机速度。

常用的电机极有4级(2极对)和2极(1极对)。

电机同步速度=频率时间(秒)/极数

4极电机转速为每分钟1500转,2极电机转速为每分钟3000转。电机转子的实际转速从转差率中去除。

双速电机线圈

b76f7df2add046b1b5d3b84a2e9c10a0?from=pc/YY

当连接双速电机的线圈绕组(左图),并向端子U1、V1和W1提供三相电源时,双速电机低速运行。

当端子U1、V1和W1短接在一起时,电机线圈绕组在提起和摇动时变成YY连接(右图)。端子U2、V2、W2三相供电,高速运行,YY接法的速度是接法的两倍。

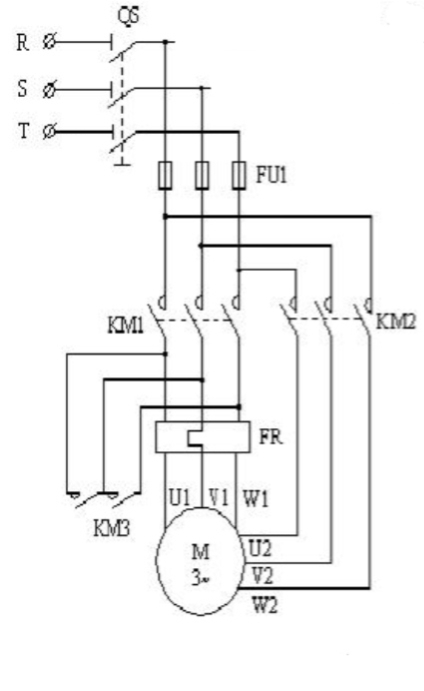
双速电机主电路接线

a188f885d50545a2aa612b1ffab31fdb?from=pc双速电机主电路

KM1接触器给双速电机U1、V1、W1供电,电机低速运行,KM1接合。

KM2接触器向双速电机的U、V2和W2端子供电。3KM接触器主触头的下桩头接在电机的U1、V1、W1上,KM接触器主触头的上桩头用短接线连接在一起。当KM3接合时,端子U1、V1和W1短接在一起。当YY电机高速运转时,KM2和KM3接合。

双速电机控制电路

手动切换

f69e39d7e0f74b7585f203e060a775c8?from=pc高低速之间的手动切换

采用手动切换电路。按SB1进行低速运行,按SB2进行高速运行。当把KM2和KM3看成一个接触器时,/YY控制电路实际上是一个正反向电路。采用接触器按钮双重联锁电路。

按下SB1时,KM1吸气电机低速运转;当SB2以低速按下时,KM1停止,KM2和KM3吸气电机YY以高速运行。当然,高速运转也可以直接切换到低速运转。

低速能直接转换成高速,得益于接触器辅助触点、按钮触点动作时,常闭触点先断开,??サ愫蟊蘸?,他们虽然感觉是同时动作的,实际上它们是有先后顺序的。这一点在接触器、继电器控制电路非常重要。

自动切换

cb70a1d2bc304979bf19de6bf1fded25?from=pc通电延迟时间继电器自动切换

SA是一个转换开关。当转换开关切换到1时,电路低速运行,KM1接触器接合。

当转换开关切换到2时,电机高速运转。电机不是直接高速运转,而是先低速再高速。KM1低速接合;时间继电器设置后,KM1断开,KM2和KM3高速接合。

断电延时时间继电器控制/YY转换

1de7eabdafae423b97ba1344c2ce9462?from=pc断电延时继电器控制的双速电机

使用断电延迟时间继电器电路比使用通电延迟时间继电器电路更复杂。有兴趣的可以学习一下控制思路,但不建议用在/YY控制电路中。

双速电机适用于机床和搅拌机,启动时转速慢,扭矩大,适用于重载启动,切换运行时转速快。

以搅拌机为例。当搅拌机停止时,搅拌机装载材料。搅拌机满的时候负载比较大,适合电机启动,扭矩大。启动后,由于惯性力矩变小,适合电机YY运行,转速高,搅拌更均匀。

返回